YCY型轴向柱塞泵
                     | 
                  
                  
                    结构原理简述 
                        该种变量形式的轴向柱塞泵是靠泵本身压力自动控制,如上图高压油流通过通道(a)、(b)、(c),进入变量壳体(302)的下腔(d),由此经过通道(e) 分别进入通道(f)和(h),当弹簧的作用力大于由通道(f)进入伺服活塞(309)下端环形面积的液压推力时,则油液经(h)进入上腔(g),推动变量活塞(301)向下移动,使泵的流量增加。 
                        反之,当泵的压力克服弹簧力使伺服活塞向上动时,堵塞通道(h),使(g)腔油通过(i)而卸压,此时变量活塞上移,泵的流量减小。 
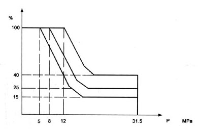
                        下图表示YCY14-1B泵的变量特性曲线,其阴影表示特性调节范围。AB的斜率是由外弹簧(307)刚度决定的,BC的斜率是由外弹簧(307)和内弹簧(306)的合成刚度决定的,CD的长短取决于限位螺钉的位置(限制变量头的倾斜角)。 
                        调节变量特性时,如需按A1B1C1D1规律变化,可先将限位螺钉拧至上端,然后调节弹簧套(305)使其流量刚发生变化时的压力与A1点的压力相符,再调节限位螺钉,使流量不再变化时的高压流量与D1点的流量相符,其中间压力与流量的变化关系是预先设计好的,不需要调整,只要A1和D1两点的流量、压力调好了,该泵就自动地按A1B1C1特性曲线变化。 
                        这种变量型式的特性曲线是近似地按恒功率变化。上述特性的转换点A1和D1的参数可按以下方法计算: 
                        例如:已知某一机器的工艺特性要求泵的最大压力为Pmax,在Pmax时D1点的流量为Q1,泵在低压时的流量为Qmax,则泵在A1点的压力为: 
                        其中:ηP1—泵在P1的总效率 
                        ηPmax—泵在Pmax的总效率 
                        在本系列泵中,可取ηP1/ηPmax≈1 
                        原动机的功率选择可以按下式: 
                        NH=Pmax·Q1/60η 
                        其中η可取0.8-0.9(当Q1较小时取较小值,较大时取较大值。) | 
                  
                  
                    | 结构图 | 
                  
                  
                     | 
                  
                  
                    | 特性曲线 | 
                  
                  
                     | 
                  
                  
                    | 10.25(32)40.63(80)YCY14-1B(括号内为YGY) | 
                  
                  
                     | 
                  
                  
                    | 160.250.(400)YCY14-1B | 
                  
                  
                     | 
                  
                  
                    
                      
                        推荐管道尺寸(不可逆泵用)  | 
                       
                      
                        型号  | 
                        进口  | 
                        出口  | 
                        回油口  | 
                       
                      
                        10YCY14-1B  | 
                        22×16  | 
                        18×13  | 
                        10×8  | 
                       
                      
                        25(32)YCY14-1B  | 
                        34×24  | 
                        28×20  | 
                        10×8  | 
                       
                      
                        40YCY14-1B  | 
                        42×30  | 
                        34×24  | 
                        12×10  | 
                       
                      
                        63(80)YCY14-1B  | 
                        50×38  | 
                        42×30  | 
                        12×10  | 
                       
                      
                        160YCY14-1B  | 
                        63×46  | 
                        50×38  | 
                        18×15  | 
                       
                      
                        250YCY14-1B  | 
                        75×55  | 
                        63×46  | 
                        18×15  | 
                       
                      
                        400YGY14-1B  | 
                        90×66  | 
                        75×55  | 
                        22×18  | 
                       
                      | 
                  
                  
                    |   | 
                  
                  
                    
                      
                        型号  | 
                        B  | 
                        b  | 
                        b0 
                          (N9)  | 
                        b1  | 
                        b2  | 
                        b3  | 
                        D0  | 
                        D1 
                          (f9)  | 
                        D2  | 
                        D3  | 
                        d 
                          (h6)  | 
                        d1  | 
                        d2  | 
                        d3  | 
                       
                      
                        10YCY14-1B  | 
                        172  | 
                        142  | 
                        8  | 
                        50  | 
                        88  | 
                         | 
                        100  | 
                        75  | 
                        125  | 
                        150  | 
                        25  | 
                        M22×1.5  | 
                         | 
                        M14×1.5  | 
                       
                      
                        25(32)YCY14-1B  | 
                        198  | 
                        172  | 
                        8  | 
                        66  | 
                        100  | 
                         | 
                        125  | 
                        100  | 
                        150  | 
                        170  | 
                        30  | 
                        M33×2  | 
                         | 
                        M14×1.5  | 
                       
                      
                        40YCY14-1B  | 
                        210  | 
                        180  | 
                        10  | 
                        66  | 
                        100  | 
                         | 
                        135  | 
                        100  | 
                        164  | 
                        182  | 
                        32  | 
                        M39×2  | 
                         | 
                        M18×1.5  | 
                       
                      
                        63(80)YCY14-1B  | 
                        258  | 
                        200  | 
                        12  | 
                        74  | 
                        104  | 
                         | 
                        155  | 
                        120  | 
                        190  | 
                        225  | 
                        40  | 
                        M42×2  | 
                         | 
                        M18×1.5  | 
                       
                      
                        160YCY14-1B  | 
                        329  | 
                        340  | 
                        16  | 
                        100  | 
                        120  | 
                        90  | 
                        198  | 
                        150  | 
                        240  | 
                        300  | 
                        55  | 
                        50  | 
                        64  | 
                        M22×1.5  | 
                       
                      
                        250(400)YCY14-1B  | 
                        385  | 
                        420  | 
                        18  | 
                        100  | 
                        140  | 
                        110  | 
                        230  | 
                        180  | 
                        280  | 
                        360  | 
                        60  | 
                        55  | 
                        76  | 
                        M22×1.5  | 
                       
                      | 
                  
                  
                    |   | 
                  
                  
                    
                      
                        型号  | 
                        H  | 
                        h1  | 
                        h2  | 
                        h3  | 
                        L  | 
                        I  | 
                        I0  | 
                        I1  | 
                        I2  | 
                        I3  | 
                        I4  | 
                        I5  | 
                        I6  | 
                        t  | 
                        d0×h0  | 
                       
                      
                        10YCY14-1B  | 
                        288  | 
                        71  | 
                        100  | 
                         | 
                        295  | 
                        40  | 
                        30  | 
                        4  | 
                        41  | 
                        86  | 
                        109  | 
                        194  | 
                        258  | 
                        28  | 
                        M10×25深  | 
                       
                      
                        25.32YCY14-1B  | 
                        351  | 
                        83  | 
                        120  | 
                         | 
                        362  | 
                        52  | 
                        45  | 
                        4  | 
                        54  | 
                        104  | 
                        134  | 
                        246  | 
                        317  | 
                        32.5  | 
                        M10×25深  | 
                       
                      
                        40YCY14-1B  | 
                        373  | 
                        87  | 
                        120  | 
                         | 
                        362  | 
                        49  | 
                        45  | 
                        4  | 
                        54  | 
                        104  | 
                        136  | 
                        236  | 
                        317  | 
                        35  | 
                        M10×25深  | 
                       
                      
                        63YCY14-1B  | 
                        400  | 
                        108  | 
                        140  | 
                         | 
                        440  | 
                        60  | 
                        50  | 
                        4  | 
                        62  | 
                        122  | 
                        157  | 
                        300  | 
                        389  | 
                        42.8  | 
                        M12×25深  | 
                       
                      
                        160YCY14-1B  | 
                        448  | 
                        141  | 
                        173  | 
                        25  | 
                        595  | 
                        106  | 
                        100  | 
                        4  | 
                        110  | 
                        180  | 
                        230  | 
                        411  | 
                        533  | 
                        59  | 
                        M16×35深  | 
                       
                      
                        250(400)YCY14-1B  | 
                        576  | 
                        170  | 
                        210  | 
                        25  | 
                        691  | 
                        110  | 
                        100  | 
                        5  | 
                        112  | 
                        212  | 
                        272  | 
                        492  | 
                        629  | 
                        63.9  | 
                        M20×45深  | 
                       
                      | 
                  
                  
                    |   |